schermafbeelding 2019 11 07 om 103952

Gelekte foto: "Zo ANDERS gaan de nieuwe iPhones eruit zien!"

Nieuws07 nov 2019, 00:00
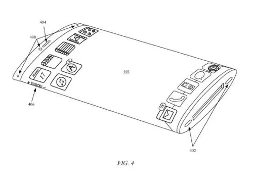
Het zou eigenlijk geheim moeten blijven, maar Apple-fans lijken de eerste ontwerpen van een nieuw product van Apple te hebben gevonden. Het lijkt te gaan om een telefoon die volledig uit display bestaat, zowel de voor als onderkant lijken bedienbaar te zijn.
Deze eerste tekening is als eerste opgedoken bij het American Patent Office , een plek waar bedrijven patent aanvragen om hun producten veilig te stellen van copycats, oftewel mensen die het product na willen maken.
Het gerucht gaat dat deze nieuwe mega-iPhone ideeën heeft hebben opgedaan van de Xiaomi Mi Mix Alpha, een toestel dat op Android draait en ook volledig uit display bestaat. Deze telefoon wordt binnenkort verkocht, maar er is maar een beperkt aantal beschikbaar. Deze telefoon kost omgerekend zo'n €2600.
Mocht Apple zo'n iPhone uitbrengen, kunnen we dus rekenen op een soortgelijke prijs. Het gaat hier natuurlijk om een gerucht, maar zouden jullie zo'n mega-phone gebruiken als hij uit zou komen?
BEKIJK HIER DE FOTO
schermafbeelding 2019 11 07 om 103952

Loading